Protokolni pretvornik

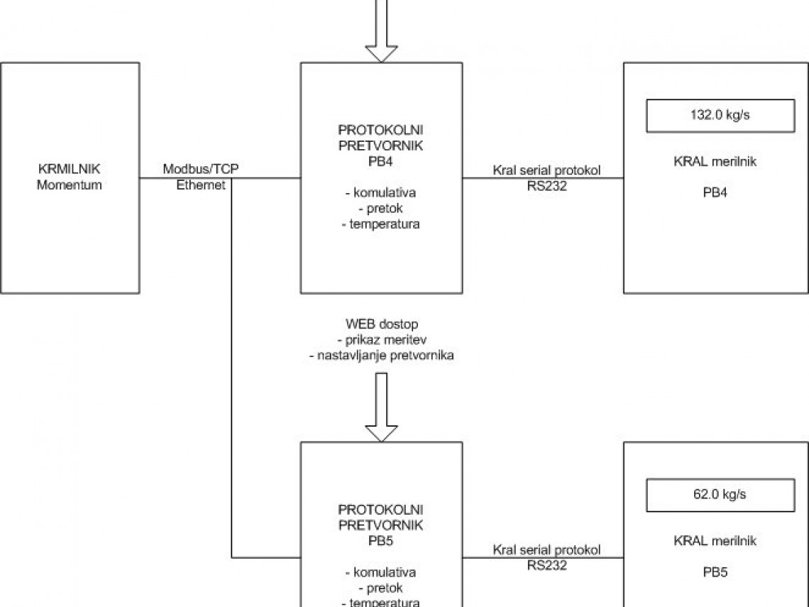
V Termoelektrarni Brestanica so želeli merilce porabe goriv KRAL neposredno povezati na merilni in nadzorni sistem porabe goriv. V ta namen je bil izdelan protokolni pretvornik, ki se na eni strani pogovarja z merilnikom pretoka in porabe goriv (KRAL) po serijski liniji, na drugi strani pa podatke pošilja po Ethernet omrežju (po Modbus Ethernet protokolu) na krmilni sistem.

Izgled protokolnega pretvornika in prikaz montaže pretvornika v krmilno omaro, kjer je povezan z merilnikom pretokov in komulativ.

Za protokolni pretvornik je izdelan program v C jeziku za SBC (Single Board Computer) - mini računalnik na eni plošči.

Projekt: Protokolni pretvornik
Čas izvedbe: Leto 2009
Vloga na projektu: Izdelava in dobava komunikacijskega modula, izdelava programske opreme za komunikacijski protokolni pretvornik

Protokolni pretvornik

V Termoelektrarni Brestanica so želeli merilce porabe goriv KRAL neposredno povezati na merilni in nadzorni sistem porabe goriv. V ta namen je bil izdelan protokolni pretvornik, ki se na eni strani pogovarja z merilnikom pretoka in porabe goriv (KRAL) po serijski liniji, na drugi strani pa podatke pošilja po Ethernet omrežju (po Modbus Ethernet protokolu) na krmilni sistem.

Izgled protokolnega pretvornika in prikaz montaže pretvornika v krmilno omaro, kjer je povezan z merilnikom pretokov in komulativ.

Za protokolni pretvornik je izdelan program v C jeziku za SBC (Single Board Computer) - mini računalnik na eni plošči.

Projekt: Protokolni pretvornik
Čas izvedbe: Leto 2009
Vloga na projektu: Izdelava in dobava komunikacijskega modula, izdelava programske opreme za komunikacijski protokolni pretvornik