Protocol converter, TEB

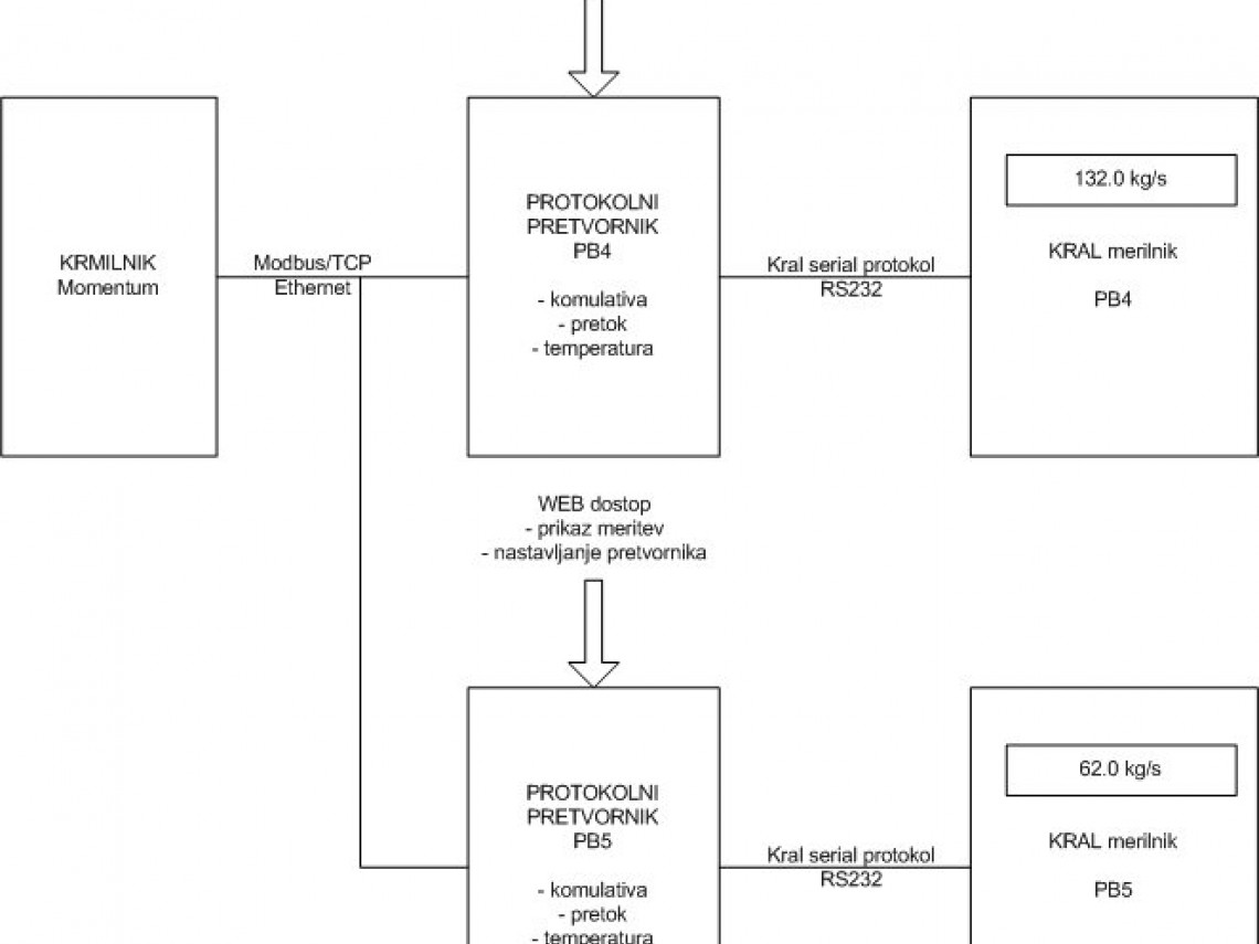
Thermal power plant Brestanica wanted to connect fuel measuring unit Kral directly to the measurement and control system. For this purpose the protocol converter was designed, which is on one hand, talking to the flow and fuel consumption meter (Kral) over a serial line, but on the other hand data are transmitted by the Ethernet network (according to Modbus Ethernet protocol) to the automation control system.

Protocol converter is connected to the Flow meeter. It is designed and programed in C language for SBC (Single Board Computer) - mini-computer on a single board.

Projekt: Protocol converter, Termo power plant Brestanica
Execution time: Year 2009
Role on Project Manufacture and supply of the communication module, creation of a software for communication protocol converter

Protocol converter, TEB

Thermal power plant Brestanica wanted to connect fuel measuring unit Kral directly to the measurement and control system. For this purpose the protocol converter was designed, which is on one hand, talking to the flow and fuel consumption meter (Kral) over a serial line, but on the other hand data are transmitted by the Ethernet network (according to Modbus Ethernet protocol) to the automation control system.

Protocol converter is connected to the Flow meeter. It is designed and programed in C language for SBC (Single Board Computer) - mini-computer on a single board.

Projekt: Protocol converter, Termo power plant Brestanica
Execution time: Year 2009
Role on Project Manufacture and supply of the communication module, creation of a software for communication protocol converter